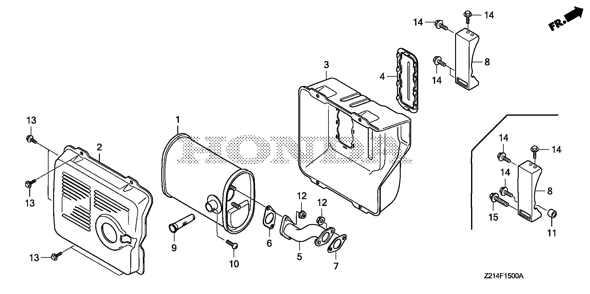
Generators EM EM6500 EM6500SXK1 AC EAPC-1000001-9999999 MUFFLER (1) - 35 North Honda

Ref No
Part Number
Description
Serial Range
Qty
Price

Ref No
1
Part Number
18310-Z22-E31
Description
MUFFLER
Serial Range
1000001 - 9999999
Qty
Price
$154.84

Ref No
2
Part Number
18320-Z22-000ZA
Description
PROTECTOR, MUFFLER (OUTER) *NH105* (MAT BLACK) (NOT AVAILABLE)
Serial Range
1000001 - 9999999

Ref No
3
Part Number
18326-Z22-000ZA
Description
PROTECTOR, MUFFLER (INNER) *NH105* (MAT BLACK) (NOT AVAILABLE)
Serial Range
1000001 - 9999999

Ref No
4
Part Number
18329-Z22-000
Description
SEAL, MUFFLER PROTECTOR
Serial Range
1000001 - 9999999
Qty
Price
$17.64

Ref No
5
Part Number
18331-Z22-000
Description
PIPE, EX. (NOT AVAILABLE)
Serial Range
1000001 - 9999999

Ref No
6
Part Number
18333-ZB4-801
Description
GASKET, EX. PIPE
Serial Range
1000001 - 9999999
Qty
Price
$4.04

Ref No
7
Part Number
18333-ZE3-800
Description
GASKET, EX. PIPE
Serial Range
1000001 - 9999999

Ref No
7
Part Number
18333-ZE3-801
Description
GASKET, EX. PIPE
Serial Range
1033254 - 9999999
Qty
Price
$2.72

Ref No
7
Part Number
18333-ZK6-Y00
Description
GASKET, EX. PIPE
Serial Range
1022356 - 9999999
Qty
Price
$4.90

Ref No
8
Part Number
18338-ZR6-T60
Description
STAY, MUFFLER (NOT AVAILABLE)
Serial Range
1022356 - 9999999

Ref No
9
Part Number
18355-Z22-E30
Description
ARRESTER, SPARK
Serial Range
1000001 - 9999999
Qty
Price
$31.36

Ref No
10
Part Number
90002-ZE2-U91
Description
SCREW, TAPPING (4X8)
Serial Range
1000001 - 9999999
Qty
Price
$1.12

Ref No
12
Part Number
94050-08000
Description
NUT, FLANGE (8MM)
Serial Range
1000001 - 9999999

Ref No
13
Part Number
95701-06010-07
Description
BOLT, FLANGE (6X10)
Serial Range
1000001 - 9999999
Qty
Price
$1.98

Ref No
14
Part Number
95701-08016-00
Description
BOLT, FLANGE (8X16)
Serial Range
1000001 - 9999999
Qty
Price
$2.20