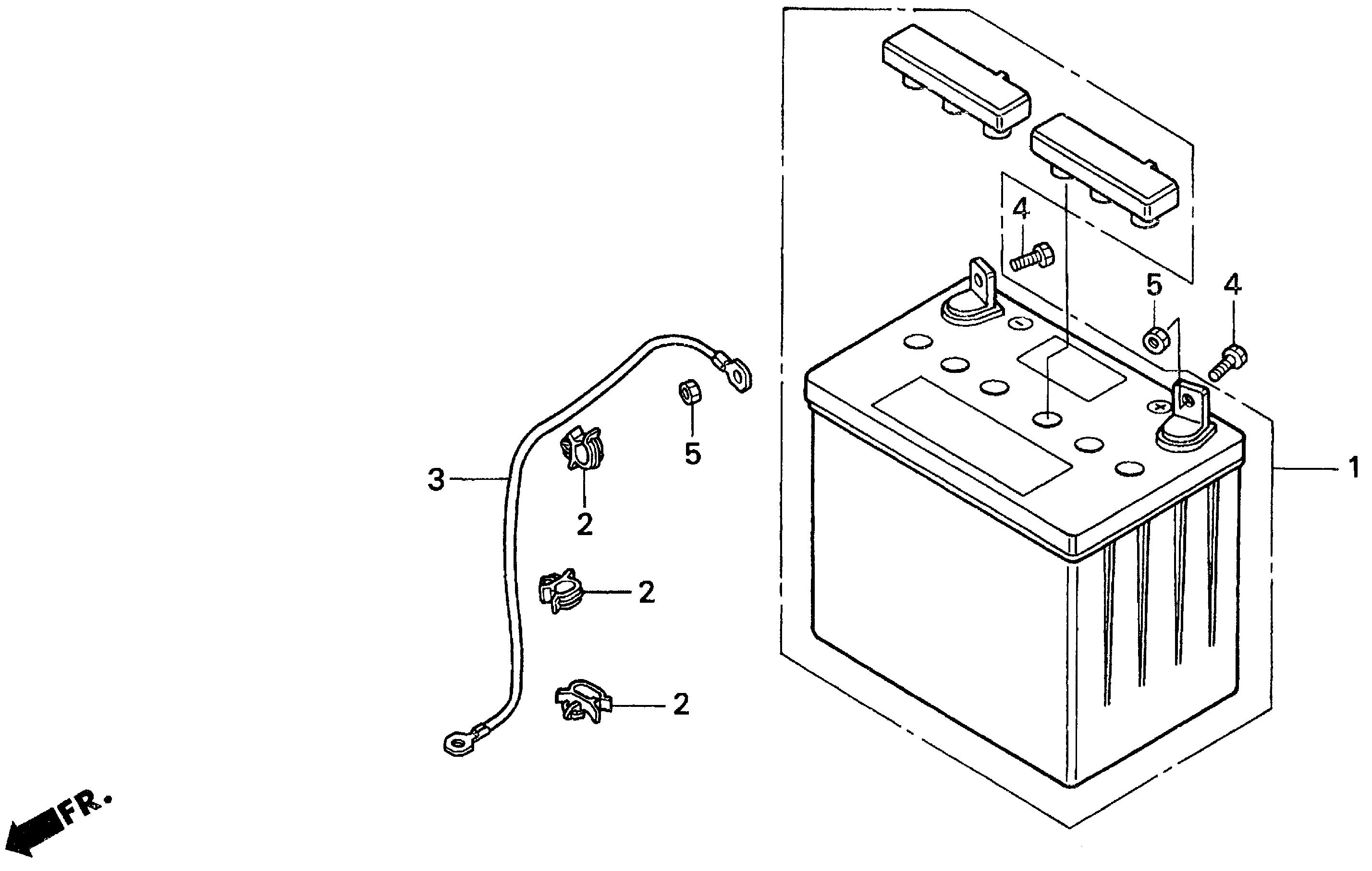
Riding Mower H H1011 H1011H SA MZAW-6000001-6100000 BATTERY - 35 North Honda

Ref No
Part Number
Description
Serial Range
Qty
Price

Ref No
1
Part Number
31500-772-003
Description
BATTERY ASSY. (U1L) (NOT AVAILABLE) (MSDS)
Serial Range
1000001 - 9999999

Ref No
2
Part Number
32171-GJ1-003
Description
CLIP, WIRE HARNESS
Serial Range
1000001 - 9999999
Qty
Price
$5.08

Ref No
3
Part Number
32600-772-000
Description
CABLE ASSY., GROUND
Serial Range
1000001 - 9999999
Qty
Price
$11.08

Ref No
4
Part Number
90122-ZA0-007
Description
BOLT, BATTERY TERMINAL
Serial Range
1000001 - 9999999
Qty
Price
$4.02

Ref No
5
Part Number
90306-463-740
Description
NUT, BATTERY TERMINAL
Serial Range
1000001 - 9999999
Qty
Price
$5.94